Qingdao Ruichen Sealing Technology Co., Ltd.
Qingdao Ruichen Sealing Technology Co., Ltd.
Προϊόντα
X

Δαχτυλίδι υαλοκαθαριστήρα

Η στεγανοποίηση σκόνης συνδυασμού διπλού χείλους που λανσαρίστηκε από τη Ruichen Seal (γνωστός κατασκευαστής και προμηθευτής στεγανοποιητικών ράβδων εμβόλου στην Κίνα) αποτελείται από έναν γεμάτο δακτύλιο στεγανοποίησης από PTFE και έναν δακτύλιο Ο. Διαθέτει αμφίδρομη προστασία από τη σκόνη και λειτουργίες αυτόματης αντιστάθμισης φθοράς, χαμηλή τριβή, μεγάλη διάρκεια ζωής και ισχυρή προσαρμοστικότητα και χρησιμοποιείται ευρέως σε διάφορα σενάρια βιομηχανικής κίνησης όπως παλινδρομική, αιώρηση και σπιράλ.

Απόδοση και Εφαρμογές

Η τσιμούχα υαλοκαθαριστήρα συνδυασμού διπλού χείλους είναι μια αμφίδρομη τσιμούχα υαλοκαθαριστήρα που αποτελείται από έναν δακτύλιο υαλοκαθαριστήρα διπλού χείλους με πλήρωση PTFE και έναν δακτύλιο Ο. Ο δακτύλιος O παρέχει προφόρτιση, αντισταθμίζοντας τη φθορά του δακτυλίου PTFE. Είναι κατάλληλο για παλινδρομικές, ταλαντευόμενες ή σπειροειδείς κινήσεις.


Συνθήκες Λειτουργίας

Πίεση Mpa

Θερμοκρασία °C

Ταχύτητα m/s

Μέσον

-

-35~+100 (αντίστοιχο O-ring NBR)

6

Υδραυλικό λάδι, γαλάκτωμα, νερό κ.λπ.

-20~+200 (αντίστοιχο O-ring FKM)


Παράδειγμα παραγγελίας

Παραγγελία μοντέλου RCF02-80-PTFE3-R01

RCF02 - Μοντέλο 80 - Διάμετρος άξονα PTFE3 - Τροποποιημένο PTFE RO1 γενικής χρήσης - Κωδικός υλικού από καουτσούκ

Νιτρίλιο (NBR) - R01, Fluorocarbon (FKM) - RO2

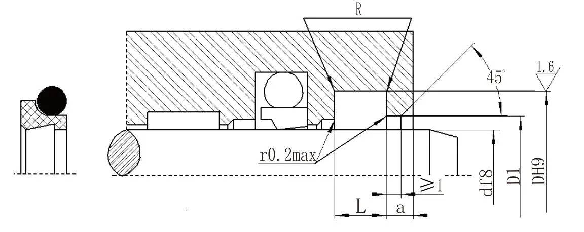
Πίνακας παραμέτρων προδιαγραφών (μπορούν να παρέχονται προϊόντα οποιουδήποτε μεγέθους εντός του εύρους παραμέτρων)

Εύρος διαμέτρου άξονα d f8

Διάμετρος αυλάκωσης Δ Η9

Πλάτος αυλάκωσης μεγάλο+0.2

Διάμετρος ανοιχτής οπής

D1H11

Άνοιγμα πλάτους οπής a≥

Στρογγυλεμένες γωνίες R≤

Διάμετρος σύρματος δακτυλίου Ο

d0

4~11

d+4,8

3.7

d+1,5

2

0.4

1.80

12~64

d+6,8

5.0

d+1,5

2

0.7

2.65

65~250

d+8,8

6.0

d+1,5

3

1.0

3.55

251~420

d+12.2

8.4

d+2,0

4

1.5

5.30

421~650

d+16,0

11.0

d+2,0

4

1.5

7.00

651~1500

d+20,0

14.0

d+2,5

5

2.0

8.60


Hot Tags: Δαχτυλίδι υαλοκαθαριστήρα
Αποστολή Ερώτησης
Πληροφορίες επαφής
  • Διεύθυνση

    No.1 Ruichen Road, Dongliuting Industrial Park, Chengyang District, Qingdao City, Shandong Province, Κίνα

  • ΗΛΕΚΤΡΟΝΙΚΗ ΔΙΕΥΘΥΝΣΗ

    info.sealing@ruichenseal.com

Αποκτήστε ανταγωνιστικές τιμές, τεχνική υποστήριξη και γρήγορες απαντήσεις. Στείλτε τις προδιαγραφές σας στο Ruichen για προσαρμοσμένες λύσεις σφράγισης. Δωρεάν δείγματα διαθέσιμα.
X
Χρησιμοποιούμε cookies για να σας προσφέρουμε καλύτερη εμπειρία περιήγησης, να αναλύσουμε την επισκεψιμότητα του ιστότοπου και να εξατομικεύσουμε το περιεχόμενο. Χρησιμοποιώντας αυτόν τον ιστότοπο, συμφωνείτε με τη χρήση των cookies από εμάς. Πολιτική Απορρήτου
Απορρίπτω Αποδέχομαι