|
Πίεση/MPa |
Θερμοκρασία / °C |
Ταχύτητα /m/s |
Μέσον |
|
≤40 |
-35~+100 (με αντίστοιχους δακτυλίους O NBR) |
≤2 |
Υδραυλικό λάδι, γαλάκτωμα, νερό, αέριο κ.λπ. |
-20~+200 (με αντίστοιχους δακτυλίους O FKM) |
1. Τα κατάλληλα υλικά O-ring περιλαμβάνουν: R01 Nitrile Butadiene Rubber (NBR), R02 Fluororrubber (FKM) κ.λπ.
2. Υλικά στεγανοποιητικού δακτυλίου: Τυπικά υλικά PTFE3 και PTFE4. άλλα προαιρετικά υλικά περιλαμβάνουν PTFE1, PTFE2 και PTFE5.
Η Ruichen έχει πραγματοποιήσει ανεξάρτητη έρευνα και ανάπτυξη και παραγωγή από την αρχή των πρώτων υλών, πραγματοποιώντας τον έλεγχο ολόκληρης της αλυσίδας προϊόντων.
1. Τεχνικά πλαστικά και σύνθετα υλικά: Παίρνουμε το πολυτετραφθοροαιθυλένιο (PTFE) ως τον πυρήνα, από την ανάμειξη, τη σύντηξη έως τη χύτευση, την ανεξάρτητη παραγωγή όλων των ειδών γεμισμένων σωλήνων και ράβδων τροποποιημένων σύνθετων υλικών και στη συνέχεια την επεξεργασία ακριβείας σε σφραγίδες. Αυτό εξασφαλίζει σταθερότητα και δυνατότητα προσαρμογής των ιδιοτήτων του υλικού.
2. Υψηλής απόδοσης ελαστομερές πολυουρεθάνης: Ξεκινάμε από τη χύτευση προπολυμερούς, παράγουμε ανεξάρτητα υλικά σωλήνων και ράβδων πολυουρεθάνης υψηλής ποιότητας και τα επεξεργαζόμαστε σε διάφορους τύπους σφραγίδων, οι οποίοι είναι εξαιρετικοί σε αντοχή στη φθορά, αντοχή στην πίεση και αντοχή στην υδρόλυση.
Παράδειγμα παραγγελίας
Μοντέλο παραγγελίας RC2054—80×69×4,2—PTFE3—R01 Model-D*d*L- Κωδικός υλικού Παραγγελία Μοντέλο RCX18—80×69x4,2—Μοντέλο HPU-D*d*L- Κωδικός υλικού
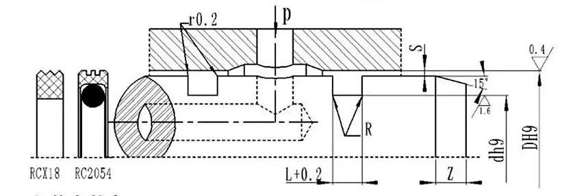
Πίνακας προδιαγραφών και παραμέτρων (διατίθεται οποιαδήποτε προδιαγραφή εντός του εύρους παραμέτρων)
|
Εύρος διαφράγματος DH9 |
Διάμετρος τάφρου dh9 |
Πλάτος τάφρου L+0,2 |
Ακτινική απόσταση Smax |
Στρογγυλεμένες γωνίες Rmax |
Λοξότμηση Zmin |
|
|
0~10Mpa |
10~20Mpa |
|||||
|
8~39 |
Δ-4.9 |
2.2 |
0.15 |
0.1 |
0.4 |
2 |
|
40~79 |
Δ-7,5 |
3.2 |
0.2 |
0.15 |
0.6 |
3 |
|
80~132 |
Δ-11,0 |
4.2 |
0.25 |
0.2 |
1.0 |
4 |
|
133~329 |
Δ-15,5 |
6.3 |
0.3 |
0.25 |
1.3 |
5 |
|
330~669 |
Δ-21,0 |
8.1 |
0.3 |
0.25 |
1.8 |
7 |
|
670~1500 |
Δ-28,0 |
9.5 |
0.45 |
0.3 |
2.0 |
8 |
|
D |
d |
L |
D |
d |
L |
D |
d |
L |
D |
d |
L |
|
8 |
3.1 |
2.2 |
50 |
42.5 |
3.2 |
170 |
154.5 |
6.3 |
380 |
359.0 |
8.1 |
|
10 |
5.1 |
2.2 |
55 |
47.5 |
3.2 |
180 |
164.5 |
6.3 |
390 |
369.0 |
8.1 |
|
12 |
7.1 |
2.2 |
60 |
52.5 |
3.2 |
190 |
174.5 |
6.3 |
400 |
379.0 |
8.1 |
|
14 |
9.1 |
2.2 |
63 |
55.5 |
3.2 |
200 |
184.5 |
6.3 |
420 |
399.0 |
8.1 |
|
15 |
10.1 |
2.2 |
65 |
57.5 |
3.2 |
210 |
194.5 |
6.3 |
450 |
429.0 |
8.1 |
|
16 |
11.1 |
2.2 |
70 |
62.5 |
3.2 |
220 |
204.5 |
6.3 |
480 |
459.0 |
8.1 |
|
18 |
13.1 |
2.2 |
75 |
67.5 |
3.2 |
230 |
214.5 |
6.3 |
500 |
479.0 |
8.1 |
|
20 |
15.1 |
2.2 |
80 |
69.0 |
4.2 |
240 |
224.5 |
6.3 |
520 |
499.0 |
8.1 |
|
22 |
17.1 |
2.2 |
85 |
74.0 |
4.2 |
250 |
234.5 |
6.3 |
550 |
529.0 |
8.1 |
|
24 |
19.1 |
2.2 |
90 |
79.0 |
4.2 |
260 |
244.5 |
6.3 |
600 |
579.0 |
8.1 |
|
25 |
20.1 |
2.2 |
95 |
84.0 |
4.2 |
270 |
254.5 |
6.3 |
630 |
609.0 |
8.1 |
|
28 |
23.1 |
2.2 |
100 |
89.0 |
4.2 |
280 |
264.5 |
6.3 |
650 |
629.0 |
8.1 |
|
30 |
25.1 |
2.2 |
105 |
94.0 |
4.2 |
290 |
274.5 |
6.3 |
670 |
642.0 |
9.5 |
|
32 |
27.1 |
2.2 |
110 |
99.0 |
4.2 |
300 |
284.5 |
6.3 |
700 |
672.0 |
9.5 |
|
35 |
30.1 |
2.2 |
115 |
104.0 |
4.2 |
310 |
294.5 |
6.3 |
750 |
722.0 |
9.5 |
|
36 |
31.1 |
2.2 |
120 |
109.0 |
4.2 |
320 |
304.5 |
6.3 |
800 |
772.0 |
9.5 |
|
38 |
33.1 |
2.2 |
125 |
114.0 |
4.2 |
330 |
309.0 |
8.1 |
1000 |
972.0 |
9.5 |
|
40 |
32.5 |
3.2 |
130 |
119.0 |
4.2 |
340 |
319.0 |
8.1 |
|
|
|
|
42 |
34.5 |
3.2 |
140 |
124.5 |
6.3 |
350 |
329.0 |
8.1 |
|
|
|
|
45 |
37.5 |
3.2 |
150 |
134.5 |
6.3 |
360 |
339.0 |
8.1 |
|
|
|
|
48 |
40.5 |
3.2 |
160 |
144.5 |
6.3 |
370 |
349.0 |
8.1 |
|
|
|
Σημείωση: Οι απαιτούμενες προδιαγραφές δεν αναφέρονται εδώ. επικοινωνήστε με την εταιρεία μας. Προσφέρουμε προϊόντα με μέγιστη διάμετρο 2800mm.



Διεύθυνση
No.1 Ruichen Road, Dongliuting Industrial Park, Chengyang District, Qingdao City, Shandong Province, Κίνα
Τηλ
ΗΛΕΚΤΡΟΝΙΚΗ ΔΙΕΥΘΥΝΣΗ